Всё новое - это хорошо забыто старое ! ![]()
Andrey4321:1828351:Манаков нихера не разрабатывал Все его '' разработки '' , были разработаны еще лет 50 - 60 назад.... А он выдает это сотворённое как своё.... Что там разработанного ???? Обыкновенная типовая схема детского граммофонного усилителя 40 - 50 годов прошлого столетия..
Он один из первых интернет популяризаторов ламповых унч схем. Имеющий не малый опыт. Но готовых конструкций его я не видел. только фанерки не очень симпатичные. Вопрос почему? Если он такой знаменитый лампостроитель то где готовые качественные изделия- или дальше фанерок дело не пошло.?
Он попал в '' струю '' на волне моды на всё ламповое...А так как большинство новоиспечённых интернет - дрочеров ВООБЩЕ НИЧЕГО НЕ ЗНАЛИ и НЕ ЗНАЮТ о лампах , как и не читали литературы по этому вопросу.. , то '' его схемки '' воспринимались как ОРИГИНАЛЬНЫЕ....Откройте журналы 50 60 летней давности по УНЧ -- вы там ТАКИХ ОРИГИНАЛЬНЫХ РЕШЕНИЙ увидите !!!...Так что все его высеры -- это закамуфлированные типовые схемки 40 - 60 годов....
Про Манакова.
Уже то, что в схему был поставлен триод от стабилизатора или из строки является некоторой новизной. По ГОСТУ надо было 6п14п ставить. И режимы каскадов и нагрузку надо было посчитать, чем не разработка. Зависть шоли? Учеников хочется? Так надо лет 10-15 на форуме неофитам поразжевывать и будут ученики и последователи, делов-то. Чел. макетил и предлагал простые как лопата, но работающие схемы. И Гурой себя не называл и пальцев не гнул, а вот в разрезе воспитанности при общении даст фору многим.
oleg_s:Про Манакова.
Уже то, что в схему был поставлен триод от стабилизатора или из строки является некоторой новизной. По ГОСТУ надо было 6п14п ставить. И режимы каскадов и нагрузку надо было посчитать, чем не разработка. Зависть шоли? Учеников хочется? Так надо лет 10-15 на форуме неофитам поразжевывать и будут ученики и последователи, делов-то. Чел. макетил и предлагал простые как лопата, но работающие схемы. И Гурой себя не называл и пальцев не гнул, а вот в разрезе воспитанности при общении даст фору многим.
Проходные триоды в усилителях начали ставить еще в 50 - 60 годах это не новизна.... есть много схем того времени....И всё было рассчитано с нагрузкой.......
1828351:Откройте журналы 50 60 летней давности по УНЧ -- вы там ТАКИХ ОРИГИНАЛЬНЫХ РЕШЕНИЙ увидите !!!...Так что все его высеры -- это закамуфлированные типовые схемки 40 - 60 годов....
Откройте,и вы не увидите таких схем,оригинальных режимов,нестандартного применения ламп.
oleg_s:Чел. макетил и предлагал простые как лопата, но работающие схемы. И Гурой себя не называл и пальцев не гнул, а вот в разрезе воспитанности при общении даст фору многим.
1828351:Откройте журналы 50 60 летней давности по УНЧ -- вы там ТАКИХ ОРИГИНАЛЬНЫХ РЕШЕНИЙ увидите !!!...Так что все его высеры -- это закамуфлированные типовые схемки 40 - 60 годов....
Откройте,и вы не увидите таких схем,оригинальных режимов,нестандартного применения ламп.
oleg_s:Чел. макетил и предлагал простые как лопата, но работающие схемы. И Гурой себя не называл и пальцев не гнул, а вот в разрезе воспитанности при общении даст фору многим.

|
офлайн
andrejj-medan
Senior Member
|
|
|
6759 |
14 лет на сайте Город:
|
Сегодня ещё новые поделки закончил....



Комплектуются сабиком. Это для небольших квартир. Но благодаря круговой диаграмме, до 4 кГц очень легко слушаются. Образы почти в 3Д получились., а рупорки, делают прекрасную их "очерченность" Высота 1 метр.
, а через две недели, закончу ещё другую модель
. Потом, перекур.
![]()
meandr 63:1828351:Откройте журналы 50 60 летней давности по УНЧ -- вы там ТАКИХ ОРИГИНАЛЬНЫХ РЕШЕНИЙ увидите !!!...Так что все его высеры -- это закамуфлированные типовые схемки 40 - 60 годов....
Откройте,и вы не увидите таких схем,оригинальных режимов,нестандартного применения ламп.
oleg_s:Чел. макетил и предлагал простые как лопата, но работающие схемы. И Гурой себя не называл и пальцев не гнул, а вот в разрезе воспитанности при общении даст фору многим.
Добавлено спустя 36 секунд1828351:Откройте журналы 50 60 летней давности по УНЧ -- вы там ТАКИХ ОРИГИНАЛЬНЫХ РЕШЕНИЙ увидите !!!...Так что все его высеры -- это закамуфлированные типовые схемки 40 - 60 годов....
Откройте,и вы не увидите таких схем,оригинальных режимов,нестандартного применения ламп.
oleg_s:Чел. макетил и предлагал простые как лопата, но работающие схемы. И Гурой себя не называл и пальцев не гнул, а вот в разрезе воспитанности при общении даст фору многим.
Сколько угодно можно увидеть..... могу привести примеры Надо только загрузить с журналов .... Скажите и что здесь НЕстандартного ????? Пентодный усилитель напряжения на сопротивлениях ??? Или триодный усилитель оконечный в классе '' А '' ???? Что тут необычного ???? Типовая схема граммофонного усилителя 50 ых годов..
1828351:Типовая схема граммофонного усилителя 50 ых годов..
Где вы видели граммофонный триодный усилитель в классе А? Да еще на стабилизаторных триодах,да еще без ОООС?
Ошибаетесь,тогда(как и сейчас,класс D) стремились к максимальному КПД,качество звука на втором месте.Где вы выдели(в каких журналах,в Радио
) усилители без ОООС? С точки зрения тех времен триодные усилители без ОООС,это что-то.... Схему такого усилителя даже публиковать никто бы не стал.Так что не голословьте,приведите пример из 50-60х и закончим на этом.
А что шуметь-то так, я вам больше скажу, он даже лампы уже готовые использовал, сам не делал! Но схемки в интернет с объяснениями постил и людям объяснял, как оно работает и сколько намотать и на каком железе , вот схемы и назвали Манаковскими, что Вас так развезло-то?
|
офлайн
vovchik_romualdovich
Senior Member
|
|
|
12006 |
15 лет на сайте Город:
|
oleg_s:Зависть шоли? Учеников хочется? Так надо лет 10-15 на форуме неофитам поразжевывать и будут ученики и последователи, делов-то.
Плюсую.
1828351. Три недели на сайте, а уже столько предъяв. Может девушка бросила, зачем злой такой? Тут злых и корифеев хватает. На предъяву ответьте предъявленым изделием собственной разработки. Вот Медан спорит, не соглашается, критикует, но в тоже время "на гора" выдаёт изделие, кстати симпатичное, человек потрудился. А Вы, что противопоставите фанеркам Манакова?
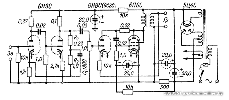
Здравствуйте уважаемые гуру, столкнулся с серьезной (для меня) проблемой при сборке первого ушника на 6н6п.
схема

Проблема в том, что одна из ламп раскаляется до красна (не сам баллон, а накал). Звук снимал тдс-ами 3 (других на работе не было) очень тихий и с сильным перегрузом (будто динамик без подвеса скребет и бьется гильзой о керн).
подскажите пожалуйста в какую сторону смотреть в первую очередь, так как опыта в таких делах у меня 0 а по срокам зашиваюсь (подарок на др).
|
офлайн
star200986
Senior Member
|
|
|
1715 |
14 лет на сайте Город:
|
oleg_s:Про Манакова.
Уже то, что в схему был поставлен триод от стабилизатора или из строки является некоторой новизной. По ГОСТУ надо было 6п14п ставить. И режимы каскадов и нагрузку надо было посчитать, чем не разработка. Зависть шоли? Учеников хочется? Так надо лет 10-15 на форуме неофитам поразжевывать и будут ученики и последователи, делов-то. Чел. макетил и предлагал простые как лопата, но работающие схемы. И Гурой себя не называл и пальцев не гнул, а вот в разрезе воспитанности при общении даст фору многим.

Если человек не может, или не хочет делать УНЧики своими руками , но имеет необходимые знания по ним , то рассказывать, как это нужно делать и выкладывать схемы ( правильные ) , -- заслуживает большого уважения . Я -- про Манакова . Это лучше , чем ЛЯпить на фанере слуховые аппараты на уровне сельского радиолюбителя 1970 года , при этом заявлять, ---,, .... анализатор не нужен , УХАМИ слышу лишние гармоники, но они мне нравятся... ,, . Манаков участвует в обсуждении всех вопросов по УНЧ , хотя и очень поверхностно . Кому нужно , -- найдёт больше инфы . Важна отправная точка .
vovchik_romualdovich:А Вы, что противопоставите фанеркам Манакова?
Может,тот самый межкаскасдник-фазоинвертор с замерами АЧХ,ФЧХ,и переходной х-кой в каскаде или на эквивалент нагрузки хотя бы.Было бы любопытно
.Пока я видел только без понятия придуманную схему на 300в,но с претензией в виде трех трансформеров и 300-ми в драйвере,в отличие от простых Манакова,но работоспособных.
Наши хлопцы тут не виноваты , это товарищ Сакума ( он же - Sakuma) из Япона , распространяет не правильные схемы .
vovchik_romualdovich:но в тоже время "на гора" выдаёт изделие, кстати симпатичное
Это что , приставка к слуховому аппарату , описанному выше ? А почему на Горе ? Что бы слышнее было ?? ..... говорят , что этот фильм для идиотов , а мне -- понравился !
1828351, Я рад что адекватные люди на форуме все же появляются!
Люди которые не видят разницы в схемах пупкина и схемах классических. Если манаков откусил резистор ООС, изменил режим драйвера на более токовый (что ксати спорно), поменял сеточный резистор с разделительным конденсатором(расширив полосу), применил другой фазоинвертор, это значит разработал схему? Тогда Вы совсем уже все ополоумили, господа ПЕНЬсионеры!!!
Прошу прощения забыл про псевдо триодное включение выходных ламп, с девизом - "зато с нагрузкой не промахнусь"! ![]()
Den_good:Проблема в том, что одна из ламп раскаляется до красна (не сам баллон, а накал).
А можно не Гурам советовать?
Робко осмелюсь заметить, что накал и должен как бэ светиться ярко, а что в другой лампе оно не светится? Тогда она неисправна или не подано напряжение накала. Смотрите что будет если поменять лампы местами?
И, для начала надо удостоверится с помощью вольтметра, что схема вышла на предполагаемый режим по постоянному току. То есть в указанных на схеме точках напряжения соответствуют ( с 10-20% точностью). или да? Напряженя накалов правильные?
Вообще настраивать схему без овцелографа тяжко. Но можно подавать 50Гц сигнал и на усь и измерять по переменному току на выходе китайским вольтметром - усиляет или нет.
ЗЫ
И вообще, выходное сопротивление этой схемы достаточно велико, меня терзают сомнения, способна ли она адекватно работать на низкоомную нагрузку.
meandr 63:1828351:Типовая схема граммофонного усилителя 50 ых годов..
Где вы видели граммофонный триодный усилитель в классе А? Да еще на стабилизаторных триодах,да еще без ОООС?
Ошибаетесь,тогда(как и сейчас,класс D) стремились к максимальному КПД,качество звука на втором месте.Где вы выдели(в каких журналах,в Радио
) усилители без ОООС? С точки зрения тех времен триодные усилители без ОООС,это что-то.... Схему такого усилителя даже публиковать никто бы не стал.Так что не голословьте,приведите пример из 50-60х и закончим на этом.
вот схема 1966г ( журнал Радио №2 ) на проходных триодах в классе ''А''

а вот схема граммофонного усилителя на псевдотриоде c высочайшими качественными показателями.в классе ''А'' ..1957 года

сейчас еще нарою в старых запасах....про то , что в 50 - - 60 не было схем на триодах в классе ''А ""
1828351:сейчас еще нарою в старых запасах....про то , что в 5- - 60 не было схем на триодах в классе ''А ""
Наройте без ООС и с нормальной полосой пропускания.
Den_good:Звук снимал тдс-ами 3
У них же сопротивление 8 ом.А данная схема будет нормально работать от 300 ом и выше.
вот еще схемы на проходных триодах в классе ''А'' 50 -- 60 годов как и просили.....



