Было решение субсоника для мидбаса, неплохое имхо.
|
офлайн
Добрый_Дедушка
Senior Member
|
|
|
12248 |
11 лет на сайте Город:
|
Слушал. Чел реализовал данное оформлерие.Обыкновенно, что фи, так и этот рупор. Не каких особенных впечатлений.
P.S. может быть, ФИ оказался бы поинтересней.
|
офлайн
andrejj-medan
Senior Member
|
|
|
6626 |
14 лет на сайте Город:
|
хорошо изготовлены рупор, даёт быстрый, чистый звук. Но это непростая задача. КПД динамика, примерно 4-6%, у рупора, до 40% Цифры примерные. Во всех своих АС, для ВЧ, делаю исключительно с рупорами. Изготовил отливную форму. От части, для понимания работы, можно сравнит с отражателем фары. Весь свет направляется на объект. Это утрировано, конечно. Не путать со звуком с эстрадными "пушками" ![]()
andrejj-medan:Ну, а ГИ, это крамола, первая буква, другое слово навивает... Ради интереса, собрал, послушал, измерил под разным углом - полное Г... Стена звука, это и подкупает ))
Вы не искренны в своём выводе, уверен в этом на 100%. Вам трудно согласиться с простой очевидностью правильного звучания ГИ по простой причине - Вы столько времени затратили на свои АС, а результат (звук) очень далёк от реалистичного, который даёт правильно сделанный ГИ.
andrejj-medan:хорошо изготовлены рупор, даёт быстрый, чистый звук. Но это непростая задача.
Это миф. Чистый и быстрый звук даёт только прямое излучение лёгкого и жёсткого бумажного диффузора динамика в оформлении ОЯ или ГИ.
yasha212:очень интересно.... на каких динах, количество в АС и АЧХ измерили?
Честного ответа не будет, чуть выше я пояснил почему.
|
офлайн
Слава-Космонавт
Senior Member
|
|
|
3377 |
9 лет на сайте Город:
|
andrejj-medan:Слава-Космонавт:это, там на фото бордовой АС заднезагруженный рупорный корпус,
спасибо. мне показалось, что там задняя стенка была, а это стенка внутреннего канала. Знаком с такой конструкцией.
Слава-Космонавт:бывалых колоночных самодельщиков набирает обороты популярность -- концепция
а в чём "фишка", кроме дизайна и меньших "стояков?
..., тут, если по высшему классу советских времен самому делать, то эта тема упирается в выбор подключения пар динамиков :
или последовательное, или параллельное, или то и другое для разных пар
--- и фильтры под это дело;
..,
с парами одинаковых динамиков в одной колонке --- наиболее удачных решений по действительно высшему классу для
бытовой акустики произведенной в СССР --- было всего два :
50 АС-5 «Radiotehnika» --->
интересно читать комментарии к этой статье
Редчайшие колонки радиотехника 50ас-5


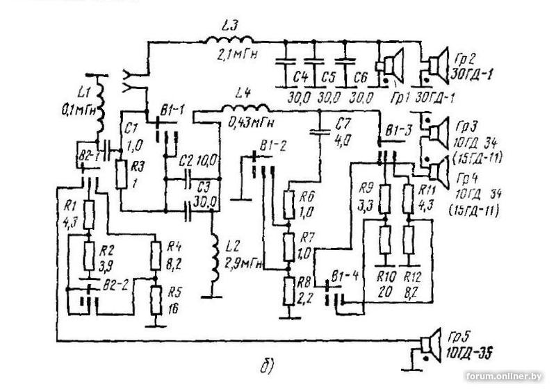
С1 – МБГО-2. L1 – 3,8 мГн/провод ПЭВ-2/диаметром 0,8 мм. R1 – ППБ-3А
..., пока несколькими сравнительными экспериментами, самому удалось на практике выяснить, что в такой самодельной Диаполито|АС концепции последовательно включенные между собой пары динамиков лучше звучат в одном боксе на одну пару
|
офлайн
Федор_Чалый
Senior Member
|
|
|
2367 |
18 лет на сайте Город:
|
ev2fj:Это миф. Чистый и быстрый звук даёт только прямое излучение лёгкого и жёсткого бумажного диффузора динамика в оформлении ОЯ или ГИ.
Упоротая безапелляционность, членов секты хамоватого свастопольского дедка - уже даже не смешит.
Нравится - слушайте! Чего кричать об этом на каждом углу, что-то кому-то доказывать?
ГИ - болезнь детского роста. Дешево, "не стыдно пацанам показать", большой звук.
Многие через это прошли, на начальном этапе, но мало у кого оно задержалось в доме. В лучшем случае - перехало на дачу или в гараж, а в большинстве - щиты на мусорке, 3ГД-38 и 4ГД-35 проданы очередному "потерпевшему", ищущему свой звук.
|
офлайн
andrejj-medan
Senior Member
|
|
|
6626 |
14 лет на сайте Город:
|
У ГИ, есть преимущество, это работа заднего излучения. Пожалуй, это единственное. Если продолжать по этой теме, то мне очень нравятся диполи. ГИ, тоже диполь. Часто делаю АС в оформлении полудиполя, если так можно выразиться. ВЧ-СЧ диполем, Внизу делюсь, насколько потянет вниз СЧ звено. Слегка, первым порядком, компенсирую КЗ от диполя. а дальше подпираю вариантами закрытых оформлений. Очень приличный звук получается. Рекомендую.
andrejj-medan:У ГИ, есть преимущество, это работа заднего излучения.
Это так. Если ГИ это диполь. То есть один динамик.
andrejj-medan:У ГИ, есть преимущество, это работа заднего излучения. Пожалуй, это единственное
Лукавите. Уверен, что знаете это:
- работа ГИ ниже резонансной частоты,
- сглаженный резонанс
-широкая стереобаза
-работа головок на малых мощностях, а это маленькие КНИ и ИМД
- отсутствие кроссоверов, которые и мощность снижают и фазовую характеристику портят
- использование динамиков с самым лёгким диф и подвесом - это даёт самое верное воспроизведение электрического сигнала, то есть будет минимальное запаздывание -- ,,электрический сигнал - акустический сигнал
- за счёт несовпадения АЧХ отдельных головок, происходит частотное сглаживание АЧХ ГИ.
Достаточно для понимания преимуществ ?
|
офлайн
Федор_Чалый
Senior Member
|
|
|
2367 |
18 лет на сайте Город:
|
dsm622:Это так. Если ГИ это диполь. То есть один динамик.
ГИ - это ни разу не эквивалент одного динамика, с суммарной площадью излучения.
ev2fj:- работа ГИ ниже резонансной частоты
За счет "рум-гейна.
Вынесите свои щиты на открытый воздух, замерьте АЧХ на низах в ближнем поле, и прослезитесь.
ev2fj:и фазовую характеристику портят
А что там, с интерференцией у ГИ? Это не фазовые искажения? ![]()
Федор_Чалый:А что там, с интерференцией у ГИ? Это не фазовые искажения?
Вы слушали хоть раз в своей жизни правильно сделанный ГИ ?
Федор_Чалый:ГИ - это ни разу не эквивалент одного динамика, с суммарной площадью излучения
Я же не серьёзно.
ev2fj:- отсутствие кроссоверов, которые и мощность снижают и фазовую характеристику портят
и отсутствие которых заставляет работать динамики там, где они не умеют, т.е. плодить искажения.
ev2fj:-широкая стереобаза
как она получается? Из 25 * 2 не согласованных фазовых характеристик? Или из 25*2 отражений?
ГИ - это просто стена звука. Не более.
|
офлайн
andrejj-medan
Senior Member
|
|
|
6626 |
14 лет на сайте Город:
|
ev2fj:- работа ГИ ниже резонансной частоты,
- сглаженный резонанс
а кому это, высокий, даже если он и ниже, резонанса головок нужен?
ev2fj:-широкая стереобаза
т.е. настолько размазана, что нет точных, образов, и это из-за локальных , интерференционных узлов по всей площади излучения. Физику не обманешь, а неопытный народ можно. ))
Уже и этого более чем достаточно, чтоб не продолжать отрицательные свойства ГИ. Не думали, почему производители не делают АС на дешевых, халявных головках? Бизнесу же, главное прибыль.
dsm622:Это так. Если ГИ это диполь. То есть один динамик.
дипольное излучение, это излучение в обе стороны. с диаграммой в виде восьмёрки . У ГИ, такое излучение тоже есть, после акустического КЗ, но значительно хуже чем у одной головки.
|
офлайн
mixing-mastering
Senior Member
|
|
|
17277 |
10 лет на сайте Город:
|
ev2fj:правильно сделанный ГИ
а что это?
и какой считается неправильным?
ну и так, вопросы ,на которые не обязательно отвечать:
почему за ссср динамиками от телевизора до сих пор не стоит очередь из
брендовых производителей АС?
почему их не копирует алиэкспресс? ![]()
почему именитые со 100летней историей компании не производят ги?
они безнадежно безграмотны?
ev2fj, Большая масса диффузоров ГИ получается для середины и верха.
mixing-mastering, Что ты не понял? Провильно сделанный только в алюминиевой корпусе.
Мечта!
ev2fj:Вы слушали хоть раз в своей жизни правильно сделанный ГИ ?
Этот вопрос ко всем отозвавшимся в бессильной злобе. Жду ответ - да или нет.
dsm622:и отсутствие которых заставляет работать динамики там, где они не умеют, т.е. плодить искажения
ШП дин в ГИ работает во всей своей полосе, которую заложил их разработчик. Уверенно скажу, что вы абсолютно не в теме.
andrejj-medan:а кому это, высокий, даже если он и ниже, резонанса головок нужен?
Вы либо не понимаете, либо дурачитесь, у 4ГД-35 низ 63 Гц., а в ГИ легко отыгрывают 35-40 Гц. без резинового басовика - исказителя - длиннохода.
andrejj-medan:Бизнесу же, главное прибыль.
Именно так, поэтому делают скворечники для 2-3-х комнатных будок. Производство правильных ГИ очень дорогое, стоят они огромных денег и рассчитаны не на массовое потребление.
.
andrejj-medan:т.е. настолько размазана, что нет точных, образов, и это из-за локальных , интерференционных узлов по всей площади излучения. Физику не обманешь, а неопытный народ можно.
Вот физику вы и не знаете и на счёт размытых образов врёте. Не слышали вы правильный ГИ, измеряли неполноценный ГИ на 8шт. 5гдш4 и сделали заведомо ложный вывод.
mixing-mastering:а что это?
вам мой игнор, о себе вы всё рассказали ранее
Делаю окончательный вывод - все злопыхатели и неучи давно нашли своё место в ветке ,, про подставки,, .
Neadych:Большая масса диффузоров ГИ получается для середины и верха
Я очень надеюсь, что Вы, со своей пытливостью, всё же когда-нибудь послушаете ГИ на 4ГД-35 по 21 шт. в каждой АС.
ev2fj, 250гр масса 21шт диффузоров. Какое звуковое давление будет на 50гц и какие искажения?
По паспорту у одного динамика 7% при 0.8вт на 125гц.
|
офлайн
Slavaakorim
Senior Member
|
|
|
1146 |
12 лет на сайте Город:
|
Идеальные АС, УСИЛИТЕЛИ, ЗОЛОТЫЕ УШИ, ДОМ ДЛЯ ПРОСЛУШИВАНИЯ, МОЗГИ ДЛЯ ПЕРЕВАРИВАНИЯ ЗВУКОВОЙ ИНФОРМАЦИИ, скажите где? Конечно в Молодечне!, а вот остальные плебеи, со слов АВТОРА - все злопыхатели и неучи давно нашли своё место в ветке ,, про подставки,, .